
详细介绍
技术参数:
ZDLQ、ZDLX系列电子式电动三通调节阀是由3610L列电子式电动执行机构与三通调节机构组成。电动执行机构内有伺服系统,无需另配伺服放大器,有播入信号及电 源可控制运转,接线简单。调节机构有合流和分流两种作用方式,在某些场合可以替代两个二通阀和一个三通接管而得到广泛应用。常用于热交换器的两相调节及简单的配比调节。
电动三通调节阀概述
ZDLQ、ZDLX系列电子式电动三通调节阀是由3610L列电子式电动执行机构与三通调节机构组成。电动执行机构内有伺服系统,无需另配伺服放大器,有播入信号及电 源可控制运转,接线简单。调节机构有合流和分流两种作用方式,在某些场合可以替代两个二通阀和一个三通接管而得到广泛应用。常用于热交换器的两相调节及简单的配比调节。
电动三通调节阀主要技术参数
| 公称通径 | 25 | 32 | 40 | 50 | 65 | 80 | 100 | 125 | 150 | 200 | 250 | 300 |
| 阀座通径mm | 25 | 32 | 40 | 50 | 65 | 80 | 100 | 125 | 150 | 200 | 250 | 300 |
| 额定KV | 8.5 | 13 | 21 | 34 | 53 | 85 | 135 | 210 | 340 | 535 | 800 | 1280 |
| 公称压力(MPa) | 1.6、2.5、4.0、6.4 | |||||||||||
| 行程(mm) | 16 | 25 | 40 | 60 | 100 | |||||||
| 配电动执行 机构型号 | 361LSA-20 | 361LSB-30 | 361LSB-50 | 361LSB-65 | 361LSB-99 | |||||||
| 输入倍号 | 4-20mADC、1-5VDC | |||||||||||
| 电源 | AC220V 50HZ | |||||||||||
| 固有流量特性 | 线性、等百分比、快开 | |||||||||||
| 固有调比 | 30:1 | |||||||||||
| 泄漏等级 | IV | |||||||||||
| 法兰尺寸 | 符合JB/79.1(2)-94、HG20592-97、GB、ANSI、JIS、DIN等标准 | |||||||||||
| 阀体材质 | WCB、304、316、WC6、钛、镍、哈氏合金、Monel等 | |||||||||||
| 阀芯材质 | 304、316、420、钛、镍、哈氏合金、Monel等 | |||||||||||
| 工作温度℃ | -40~230 | |||||||||||
| 系列类型 | 常温型、中温型、波纹管密封型 | |||||||||||
注:本公司生产的三通调节阀通径至DN400
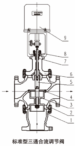
电动三通调节阀基本结构
| 序号 | 名 | 称 |
| 1 | 接 | 管 |
| 2 | 阀 | 体 |
| 3 | 阀 | 芯 |
| 4 | 阀 | 座 |
| 5 | 阀 | 杆 |
| 6 | 阀 | 盖 |
| 7 | 填 | 料 |
| 8 | 填料压盖 | |
| 9 | 执行机构 | |
电动三通调节阀技术参数:
| 型号 | 额定输出力 | 速度mm/s | 技术参数 | ||||
| PSL | 361L | PSL | 361L | PSL | 361L | PSL | 361L |
| 201 | 361LSA-08 361LXA-08 | 1000 | 800 800 | 0.25 | 4.2 4.2 | 电源;AC220V 50HZ 输入信号:DC4-20mA DC1-5V (信号线用屏蔽线) 输出信号:DC4-20mA 防护等级:IP67 带手轮 | 电源:AC220V 50Hz 输入信号:DC4-20mA DC1-5V (信号线用屏蔽线) 输出信号:DC4~20mA 防护等级:IP65 隔爆标志Exd ll 带手柄 |
| 202 | 361LSA-20 361LXA-20 | 2000 | 2000 2000 | 0.50 | 2.1 2.1 | ||
| 204 | 361LSA-30 361LXA-30 | 4500 | 3000 3000 | 0.50 | 3.5 3.5 | ||
| 208 | 361LSA-50 361LXA-50 | 8000 | 5000 5000 | 1.00 | 1.7 1.7 | ||
| 312 | 361LSC-65 | 12000 | 6500 | 0.60 | 2.8 | ||
| 320 | 361LSC-99 | 20000 | 10000 | 1.0 | 2.0 | ||
注:其它可选电动执行机构:扬州西门子、英国罗托克等
电动三通调节阀性能指标
| 项目 | 指标值 | ||
| 基本误差% | 配361L±2.5;;配PSL±1.0 | ||
| 回差% | 配361L±2.0;;配PSL 1.0 | ||
| 死区% | 配361L±3.0配PSL 1.0 | ||
| 始终点偏差% | 电开 | 始点 | ±2.5 |
| 终点 | ±2.5 | ||
| 电关 | 始点 | ±2.5 | |
| 终点 | ±2.5 | ||
| 可调范围 | 50: 1 | ||
| 额定行程偏差% | +2.5 | ||
| 泄漏量 | 符合JB/T7387-94 IV级 小于阀的额定容量x10 -4 | ||
电动三通调节阀外形尺寸及重量
| 公通通径DN | 25 | 32 | 40 | 50 | 65 | 80 | 100 | 125 | 150 | 200 | 250 | 300 | |
| L | PN16 | 185 | 200 | 220 | 250 | 275 | 300 | 350 | 410 | 450 | 550 | 670 | 770 |
| PN40 | 190 | 210 | 230 | 255 | 285 | 310 | 355 | 425 | 460 | 560 | 740 | 803 | |
| PN64 | 200 | 200 | 240 | 265 | 295 | 320 | 370 | 440 | 475 | 570 | 752 | 819 | |
| H1 | 135 | 152 | 165 | 180 | 200 | 220 | 222 | 265 | 322 | 362 | 508 | 563 | |
| A | 225 | 310 | |||||||||||
| H常温 | 555 | 561 | 660 | 675 | 863 | 868 | 872 | 905 | 920 | 950 | 1203 | 1265 | |
| H中温型 | 707 | 709 | 812 | 827 | 1027 | 1032 | 1036 | 1120 | 1135 | 1165 | 1485 | 1557 | |
| 重量 (PN64常温) | 50 | 55 | 70 | 78 | 110 | 120 | 150 | 180 | 310 | 410 | 650 | 810 | |
电动三通调节阀外形尺寸及重量
| 公通通径DN | 25 | 32 | 40 | 50 | 65 | 80 | 100 | 125 | 150 | 200 | 250 | 300 | |
| L | PN16 | 185 | 200 | 220 | 250 | 275 | 300 | 350 | 410 | 450 | 550 | 670 | 770 |
| PN40 | 190 | 210 | 230 | 255 | 285 | 310 | 355 | 425 | 460 | 560 | 740 | 803 | |
| PN64 | 200 | 200 | 240 | 265 | 295 | 320 | 370 | 440 | 475 | 570 | 752 | 819 | |
| H1 | 135 | 152 | 165 | 180 | 200 | 220 | 222 | 265 | 322 | 362 | 508 | 563 | |
| A | 225 | 310 | |||||||||||
| H常温 | 555 | 561 | 660 | 675 | 863 | 868 | 872 | 905 | 920 | 950 | 1203 | 1265 | |
| H中温型 | 707 | 709 | 812 | 827 | 1027 | 1032 | 1036 | 1120 | 1135 | 1165 | 1485 | 1557 | |
| 重量 (PN64常温) | 50 | 55 | 70 | 78 | 110 | 120 | 150 | 180 | 310 | 410 | 650 | 810 | |
Copyright © 2022 浙江巨恒机械有限公司 浙ICP备2022030798号-1 服务热线:0577-67319652 (拔打)
技术支持:中国泵阀制造网